Beelden van het nieuwe patent van Nintendo laten twee schermen zien die een interactie hebben met elkaar.
Gisteren werd een nieuw patent van Nintendo publiek gemaakt. In dit patent beschermt het bedrijf een spelplatform waarop een aantal toestellen, die informatie kunnen verwerken, met elkaar communiceren.
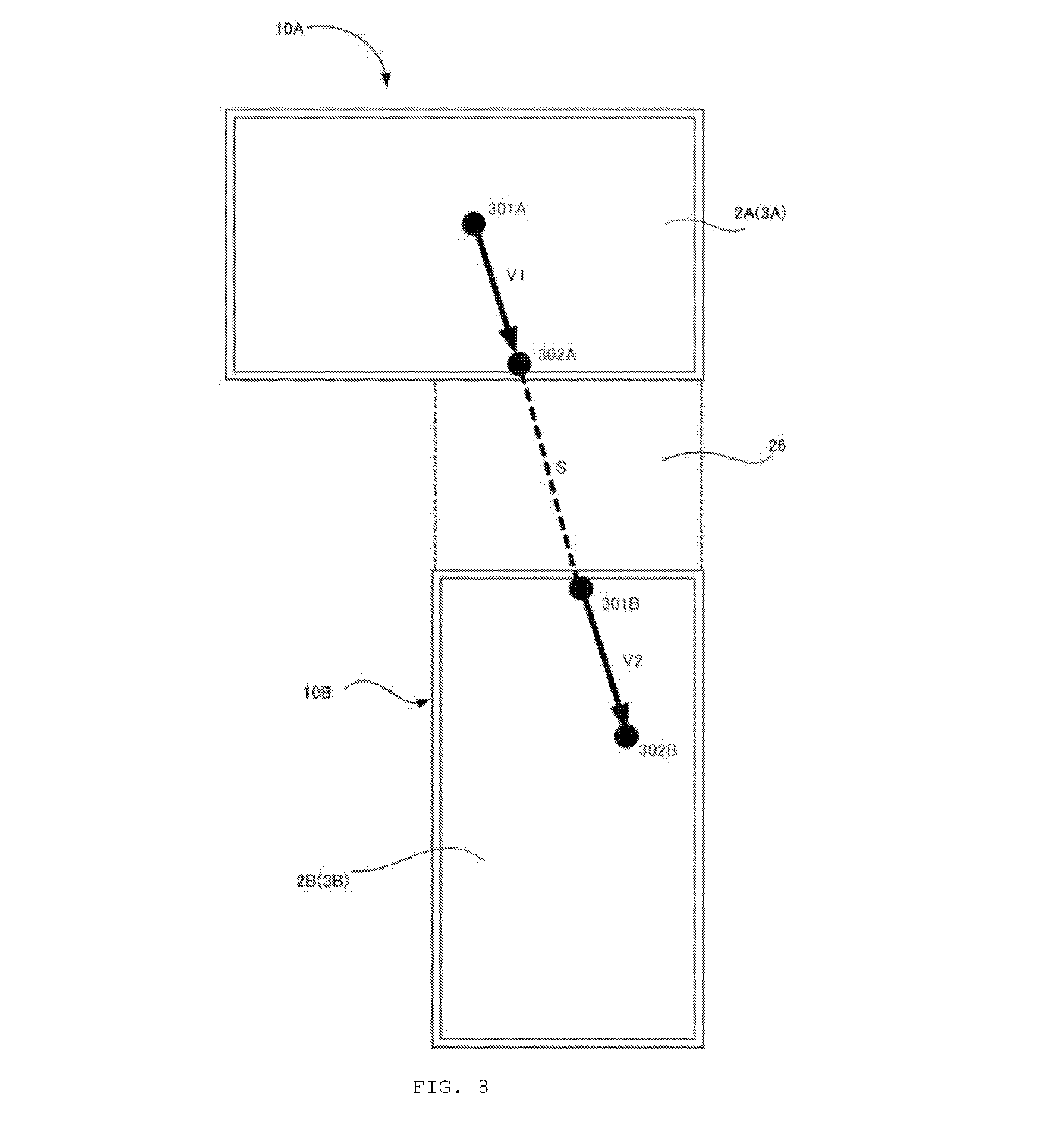
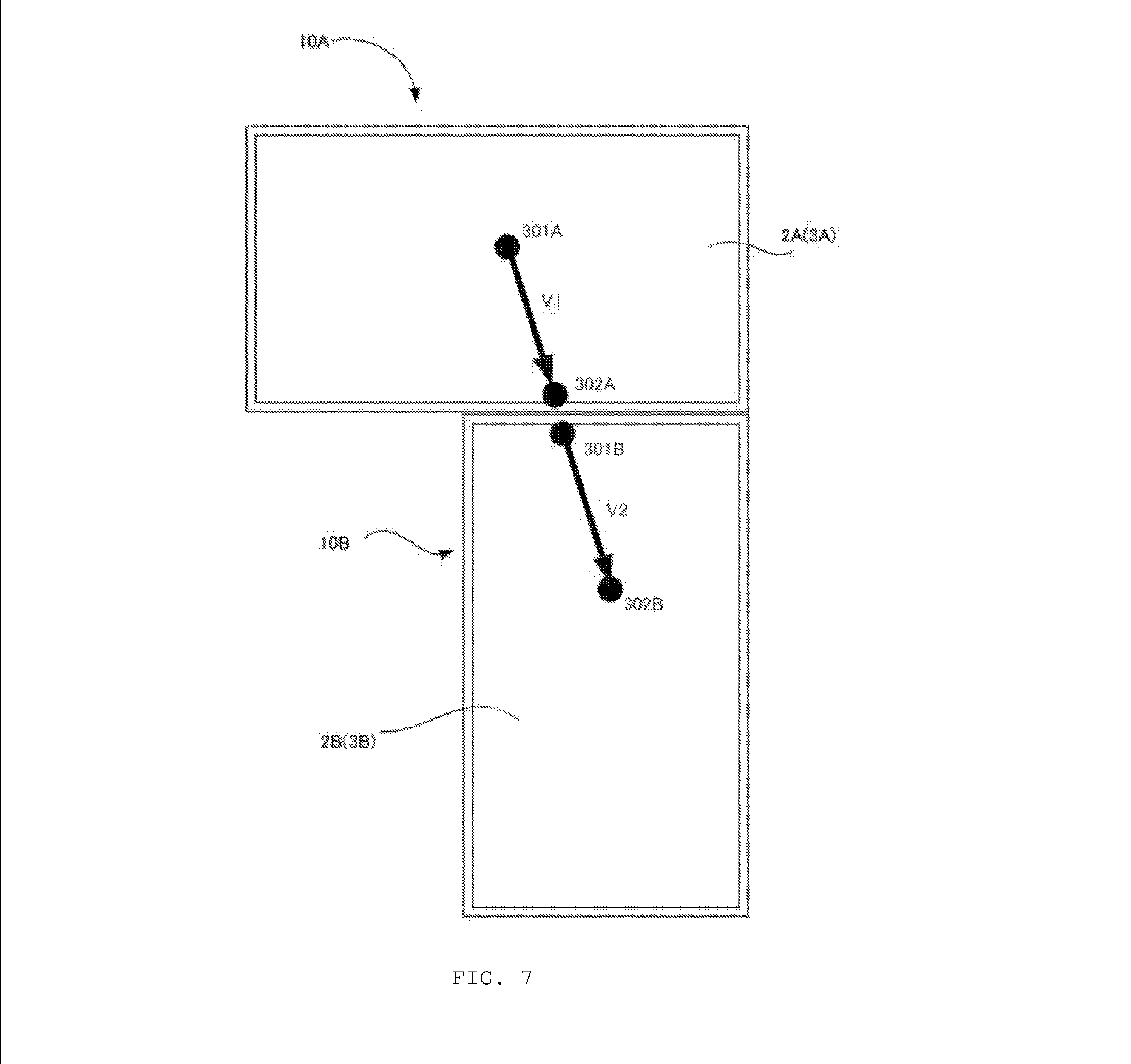
Digital Trends kwam het patent tegen en merkt op dat de toestellen in dit geval verschillende schermen zijn. Wanneer meerdere schermen aangeraakt zijn, is het mogelijk om informatie uit te wisselen voor nieuwe speel ervaringen.
In één van de beelden kunnen we zien hoe een vinger over de twee verschillende schermen gaat zonder dat het spel onderbroken wordt. Dit patent laat ook zien hoe een bal het afgelegde pad van de vinger volgt, om vervolgens enkele bowlingkegels om te gooien.
In andere beelden kunnen we dan weer zien dat het niet nodig is voor de schermen om in contact te staan met elkaar. Er kan een grote afstand tussen zitten en nog is de connectie niet verbroken.
De vraag blijft natuurlijk of Nintendo effectief gebruik zal maken van dit patent. Wat denk jij, zal dit patent uitgewerkt worden naar een nieuwe spelconsole? Lijkt dit jouw een goed idee? Laat het ons zeker weten!


![[Prijsvraag] Win Taxi Chaos 2 Taxi Chaos 2 keyart](https://dailynintendo.nl/wp-content/uploads/2026/05/image-2-238x178.png)

![[Release Radar] Deze games verschijnen er in week 21](https://dailynintendo.nl/wp-content/uploads/2026/02/Release-Radar-Switch-2-2.0-238x178.png)

Een nieuw soort Ds? Lijkt me wel een cool idee
Nee joh zo gaaf! Is dit misschien een DualSwitch? 😉
Nintendo DualSwitch klinkt niet gek
Ja, of het is gewoon de bestaande switch, die je zo kan gebruiken als je er een 2de bij doet.
Wat het ook is, eerst maar eens zien of het ook daadwerkelijk uit komt.
Ik denk dat ik dit pas snap als ik het in beweging zie haha.
Wow 😲
Offeh… het is een demo voor een NintendOS telefoon, waarmee je gezellig kunt samenspelen met je vriendjes.
Ben benieuwd wat ze hiermee gaan doen…